
聯系人:肖經理
電話:0755-23197339
傳真:0755- 29859300
手機:13828771664
郵箱:aotuoshi@atus.email
地址:深圳市光明區公明街道上村社區蓮塘工業城B區第19棟101、第20棟
M7120A型平面磨床在長期使月過程中,經常出現下述現象:工作臺在換向時的沖出量大,有時不換向或沖到頭(撞缸),甚至將固定在工作臺的液壓缸支架撞斷,在修理調試中,調好了沖出量又重復產生新的沖出量。

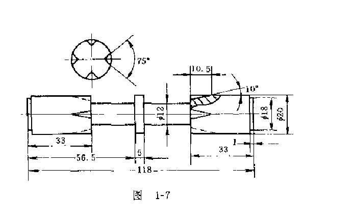
經過多次試驗,對操縱箱換向閥進油邊、回油邊的結構進行了改進(參看圖1-7).該換向閥采用矩形邊結構,是參考國外一些液壓換向閥的結構而改的.,為使下作臺換向平穩無沖擊,在矩形邊上又增開了4個制功三角槽。‘另外,為了減小工作臺高速換向時的超程量,提高換向精度,就得加快滑閥訣跳的速度,以確保滑閥在快跳結束時的正確位置。因為快跳結束過早、增大了換向的超程量,快跳結束過晚,則容易產生換向沖擊。為此,在滑閥兩端部各車了一道臺階,以確保換向閥在快跳結束時的正確位置,減小了工作臺高速換向的超程量。
經多年實際使用,證明這種結構的換向閥效果良好,工作臺在高速換向時,既無沖擊,又無沖出‘超程量控制在20mm-30mm ,也沒有出現撞缸現象,一次調整好后,幾年來一直沒有變動,穩定性好,而且,這種結構的換向閥的設計、計算、制造都很簡單。

由于M7120A型平而磨床的工作臺運動速度高,要求換向時間短,且換向平穩,為降低油溫,三位換向閥的滑閥機能采用H型,液壓泵可用此閥卸荷。
換向閥快跳前的位置尺寸和換向閥在第一次快跳結束時的位置尺寸如圖1-8所示。
