
聯系人:肖經理
電話:0755-23197339
傳真:0755- 29859300
手機:13828771664
郵箱:aotuoshi@atus.email
地址:深圳市光明區公明街道上村社區蓮塘工業城B區第19棟101、第20棟
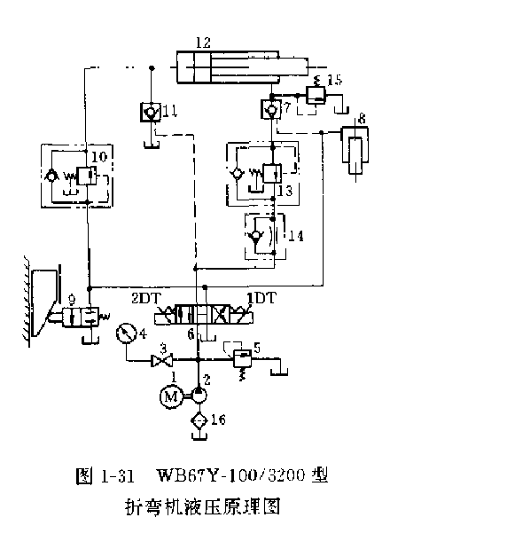
WB67Y-100/3200型液壓板料折彎機的上模板(滑塊)是由液壓缸間接驅動的新型結構(圖1一30)。它克服了傳統方式采用一對直接作用的液壓缸所產生的平衡問題;即使在承受偏載時,滑塊仍能保持水平,不會傾斜。現將維修中3個故障及其排除方法介紹如下(液壓原理圖如圖3-31所示)。
故障1:主液壓缸12活塞無右行動作,即工作滑塊無工作行程。
診斷排除過程:起動液壓泵,使三位四通電磁換向閥6的2Y得電,主液壓缸12活塞左行一滑塊回程上行并制動。且壓力表4有一定顯示值,接著使換向閥6的1Y得電,用6mmX50mm紫銅棒觸及電磁鐵1Y閥芯檢查,閥芯已吸合到位,此時主液壓缸12活塞無右行動作且壓力表4無顯示值,觀察各連接部位均無外泄。
通過上述空載試驗,說明工作油液回油箱卸荷,且故障不是液壓缸12右腔回油控制系統所造成,液壓泵2及溢流閥5工作正常。故障可能出在行程伺服閥9,液控單向閥11、單向順序閥10及換向閥6右位功能上。停機將閥9,閥11回油管接頭拆下,起動液壓泵并使電磁鐵1Y得電,閥9及閥11無回油泄漏,說明這兩個閥工作正常.接著依次將閥10及閥6解體檢查,閥10良好,而用吹煙法(用一根8X100-10X100塑料管,一端插入閥P通口,另一端放入含有香煙煙霧的口中,將煙霧徐徐吹出.同時進行手動調節閥芯位置)檢查發現閥6右位功能喪失,拆出閥芯,發現其右位閥腔日崩損、形成四通口互串卸荷。更換閥6,故障消除。
故障2:滑塊在仟意位置不能停住。有下滑現象。即主液壓缸12活塞無右行制動。
診斷排除過程:經空載試驗,滑塊工進和回程功能正常且滑塊回程停機后,仍有下滑現象,說明液壓缸12右腔回油路背玉不足。故障出在背壓油路之液控單向閥7,溢流閥15上,將閥依次拆卸解體后。發現閥7回位彈簧折斷多處,致使閥芯卡住,溢流閥l5閥芯被雜質卡住,經研合閥芯、閥腔及清洗、更換彈簧并適當洞整溢流閥l5背壓后,故障消除。

故障3:壓力表示值達到指定值,但不能折彎工件
診斷排除過程:從設備結構上看,副液壓缸8柱塞外伸端與上模板(滑塊)連接,主液壓缸12活塞外伸端通過連桿和擺桿間接地傳遞給上模板運動和動力;從故障現象看,顯然是上模板作用于工件上的壓力不夠(工作壓力為主液壓缸活塞和副油缸柱塞傳遞給上模板壓力之和);從液壓原理圖上分析.當換向閥6的電磁鐵1Y得電后,油液由兩路分別進入主液壓缸12左腔及副液壓缸8油腔,由于進入副液壓缸8的壓力油無外泄且這條油路中間無任何控制閥,說明故障不在這條油路上,同時壓力表4示值達到指定值,說明系統工作壓力已建立且無嚴重外泄,故障有可能出在主液壓缸進、出油路控制系統上,后將溢流閥15壓力調整為零進行試驗。上模板仍不能折彎工件且無回程運動,當調整溢流閥15壓力至一定值,上模板回程運動恢復,說明主液壓缸12右腔油路控制系統不會造成這種故障,則故障只可能出在主液壓缸12左腔控制油路系統上即單向順序閥10故障所致。起動液壓泵井使換向閥6的1Y得電,將單向順厚閥10調整螺桿徐徐旋出至一定位置,故障立刻消除。說明故障是單向順序閥10調定壓力值超過系統溢流閥5調定壓力值所引起。
相關推薦:掘進機液壓泵維修
