
聯系人:肖經理
電話:0755-23197339
傳真:0755- 29859300
手機:13828771664
郵箱:aotuoshi@atus.email
地址:深圳市光明區公明街道上村社區蓮塘工業城B區第19棟101、第20棟
裝載機液壓油的溫升快、油溫高是一個普遍性的問題,ZL15型裝載機尤其明顯。為了減少壓力損失、提高液壓系統工作可靠性,下面對ZL15型裝載機液壓系統的流量進行分析,供其改進設計參考。

(一)系統實際工作流量
ZL15型裝載機液壓系統原理圖如圖2-2所示。ZL15型裝載機采用495K柴油機。額定轉速24ODr/min,調速率8%,柴油機與變矩器為部分功率匹配。由試驗結果及作業工況時柴油機、變矩器匹配輸入曲線可知,在最大油門時柴油機轉速2500r/min左右,考慮液壓泵齒輪傳動比及液壓泵的容積效率,液壓泵的流量應為120/min,從而確定各液壓元件的實際工作流量見表2-1

(二)流量增加對液壓系統和元件性能的影響
由于實際工作流量遠遠大于額定流量,系統壓力損失增大,引起油液發熱,液壓件的性能惡化。
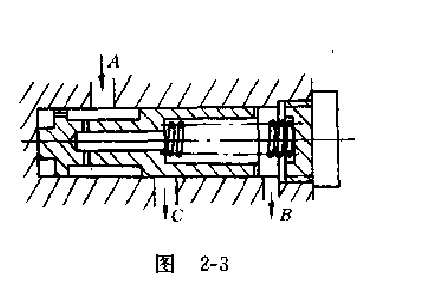
(1)系統流量增加過多,使實際工作參數與單穩閥的整個設計參數不相符合(參看圖2-3 )。試驗表明,在柴油機油門最大時,閥芯的平衡位置接近B口關閉位置,幾乎無轉向穩定流量,只好在閥芯B口端面開四條小油槽,用油槽通油面積的變化來保證轉向和動臂提升所需的流量。單穩閥增加了油槽的阻尼壓力損失,所增加的流量,通過C口進入到工作裝置液壓系統。

(2)根據試驗數據得知,壓力損失和多路閥在各個操縱位置時的壓力損失都近似地與通過的流量二次方成正比。壓力損失大幅度地增加,使液壓油溫升快,油溫高。行走、作業油溫試驗結果見表2- 2(試驗時的環境溫度21°,風速3.5m/s)。

(3)液壓缸密封圈材料是聚胺脂橡膠,耐磨性較好,但耐溫性較差,只能在油溫80°以下正常工作.在較高油溫和壓力下易產生水化口在南方氣溫較高的季節正常負荷長時間工作,曾多次出現液壓缸聚胺脂密封件水化的故障。其他密封材料在高溫下也易老化。
(4)流量增加過多,嚴重地破壞了安全過載閥的靜態特性和動態特性,多路閥的工作可靠性大大下降。流速過高不僅易產生局部氣蝕,損傷零件,同時使液壓油產生大量氣泡,早期變質,增加使用成本。
(三)建議
ZL15型裝載機液壓系統油溫過高的因素復雜,上面僅從系統流量方面進行了分析。在不影響生產率及轉向性能等前提一下,如對該系統進行改進,建議采用ZL20E-04TQT多路換向閥(額定流董為100L/min)。由于沒有適合該系統的DWF-D單穩閥系列產品,建議綜合考慮各種因素,選用其他型式的單穩閥,優化液壓系統設計.以降低油液溫升。
相關閱讀:柱塞泵維修
