
聯系人:肖經理
電話:0755-23197339
傳真:0755- 29859300
手機:13828771664
郵箱:aotuoshi@atus.email
地址:深圳市光明區公明街道上村社區蓮塘工業城B區第19棟101、第20棟
目前對液壓設備故漳的現代化診斷方法和手段還不完善,根據經驗分析故漳原因仍是分析液壓沒備的重要方式。
(一)故障判斷的步驟和方法
某單位一臺WY160A正鏟使用半年后,在一次施工中突然出現工作裝置、回轉、行駛都不動作現象。根據故漳發生前后的狀況和現象,查閱使用說明書等有關資料,并結合該機的液壓工作原理,綜合分析、判斷故障產生的原因有以下幾個方面,并定出排除方法,如表2-14所示。

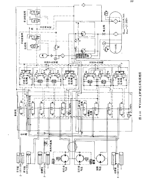
根據WY160A正鏟液壓系統原理圖(參看圖2-33),首先檢查I、II柱塞泵的出口壓力,從壓力表B、C的讀數分析,I , II柱寨泵正常;其次檢查巧型齒輪泵的出口壓力,壓力表八的讀數為2.9MPa,屬于正常。從回油箱油路可觀察到由齒輪泵來的壓力油未進入各先導閥,而是打開先導安全閥流回油箱,這說明電磁閥未處于通電狀態下工作;再次檢查電磁閥及其電源情況,發現電源有電,但電流表卻反映電磁閥斷路,要恢復該電磁閥的作用只有吸新纏繞線圈或更換電磁閥。由干電磁閥是一次性的,線圈外的絕緣體打開后就無法恢復原狀,再加上電磁閥的線圈纏繞技術要求較高,故只能更換電磁閥。但由于施工任務緊,更換電磁閥又無備件,如何快速恢復該機工作見(三)。

(二)電磁閥的作用
電磁閥技術參數
工作介質礦物油
溫度范圍(°C;)一20-80
粘度范圍(mm2/s) 2.8一380
額定壓力(MPa) 3
額定流量( L/min) 13
工作電壓(V) 24D.C
該閥是二位四通電磁換向閥,利用電磁鐵的通斷電推動閥芯移動來對油路的換向進行遠距離控制。
由WY160A正鏟液壓系統原理圖可以看出電磁閥處于斷電狀態,先導泵(16型齒輪泵)的壓力油通過先導安全閥流回油箱,此時手柄或踏板的任何動作都不起作用,這樣避免了停機狀態時的誤動作發生。電磁閥一旦通電,它就換向,先導泵排出的壓力油進入各先導閥,此時各個操縱動作均起作用。
(三)故障的處理方法
基于二位四通電磁閥的作用,能否使該閥處于通電狀態呢了從原理上是可行的。于是將電滋閥閥芯彈簧尾端墊一合適的墊片,使電磁閥處于通電狀態,此時彈簧壓緊,電磁閥無電換向。工作時,先導泵排出的壓力油進入先導閥,操縱各個動作;不工作時,先導泵的壓力油通過先導閥流回油箱.實際運行證明該機能完成各個操縱動作,各方面運轉良好。因此這是一種迅速、及時地排除故障的簡便方法。
